
Contact: Prof. Jens Freudenberger
Strength and conductivity in metals are in principle conflictive materials properties as the same microstructural features that enhance the strength of metals also contribute to its resistance and, thus, lower the (electrical) conductivity. Consequently, metals show either a very high conductivity (as e.g. Ag, Cu) with low strength or they pocess very high strength values combined with a low conductivity (as e.g. high-Mn steels). Highly strengthened conductors are supposed to pocess both, high strength and high conductivity. The acivities as given below were performed to obtain the best possible combination of strength and conductivity in metals.
A. Kauffmann et al., Materials Science & Engineering A 588 (2013) 132–141
We present the work hardening behaviour, mechanical and electrical properties of pure copper subjected to wire drawing at 77 K and 295 K, respectively. The deformation per pass is increased up to true strain of 0.4 by adopting pressure die/drawing die combinations in order to optimize lubricant residuals of MoS2 on the wire surface at 77 K. The onset of deformation twinning for wire drawing at 77 K was found to be 0.3 and 0.4 for a true strain of 0.1 and 0.4 per pass, respectively. Twinning activity, texture strength and homogeneity are enhanced by increasing deformation per pass while the number of processing steps required for a certain deformation are reduced significantly. A considerably altered electrical conductivity, medium strength increase accompanied with a loss of ductility and a limited thermal stability suggest the formation of non-coherent twin boundaries or destructed twin orientation relationship in cryo-drawn wires. Evidence was found for the latter possibility by local investigation of deformation twins in the final stage of deformation.

E. Bocharova et al. Journal of Alloys and Compounds 351 (2003) 119–125
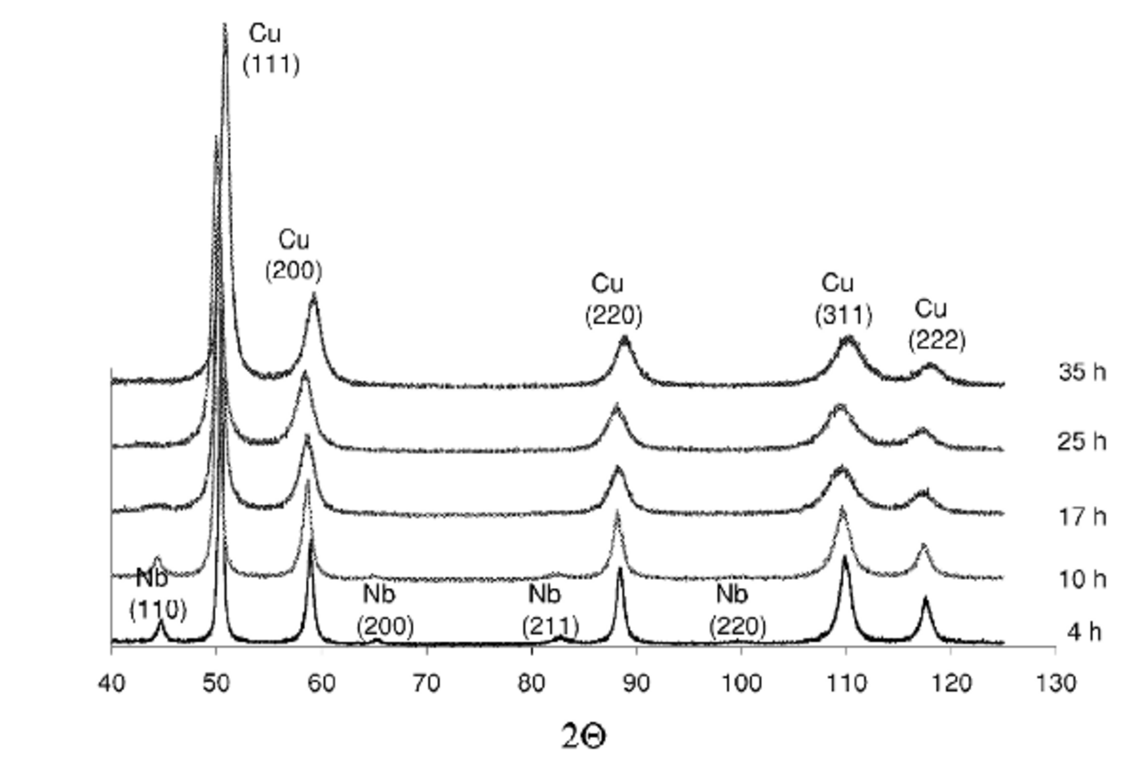
Alloys with both high strength and high conductivity have been produced by mechanical alloying. In the present study, copper was mechanically alloyed with 5, 10 and 20 at.% Nb using a planetary ball mill. The Cu–Nb phase diagram shows a negligibly low mutual solubility in the solid state, but high energy ball milling can largely extend the region of solid state solution. Previously, it was observed that niobium partly dissolves in the copper lattice during milling. The present investigation demonstrates that this limit can be extended to a strongly supersaturated Cu solid solution of up to 10 at.% Nb provided the appropriate mechanical alloying method is applied. The change in the powder microstructure was followed by scanning and transmission electron microscopy (TEM) as well as by X-ray diffraction (XRD) analysis. In the case of Cu–5%Nb and Cu–10%Nb a homogeneous single-phase microstructure was obtained after 30 h of milling. Elemental Nb could no more be detected, indicating the formation of a metastable supersaturated Cu–Nb solid solution.

E. Bocharova et al. Acta Materialia 54 (2006) 3333–3341
Nanocrystalline Cu and Cu–Nb alloys were prepared by the consolidation of mechanically alloyed powder. The alloys show a microstructure with a grain size below 50 nm. The microstructure of the Cu matrix remains stable even at elevated temperatures of up to 900 °C, whereas the Nb precipitates coarsen during annealing. The mechanical strength as well as the electrical conductivity depend on the grain size of the Cu matrix, which can be influenced by the temperature of the heat treatment, i.e., a mechanical strength of about 1.6 GPa is measured for a Cu–10 at.% Nb alloy which shows an electrical conductivity of about 10% IACS (international annealing copper standard) at room temperature. The main contribution to the mechanical strength of the alloys is attributed to the grain boundary strengthening in Cu referring to the Hall–Petch relation, which is quantified. The grain boundaries are also found to influence considerably the electrical resistivity.

A. Gaganov et al. Z. Metallkd. 95 (2004) 6
The microstructure and the mechanical properties of Cu - Ag alloys with 7 and 24 wt.% Ag are investigated. The microstructure of the alloys is mostly determined by the silver content. That of Cu-24 wt.% Ag alloys consists of a Cu-rich solid solution and the eutectic. Otherwise, the microstructure of Cu-7 wt.% Ag alloys consists of primarily solidified dendrites of a Cu-rich solid solution and small Ag-rich particles. The composition strongly influences the work hardening rate. In order to achieve an ultimate tensile strength of 1 GPa a logarithmic cold deformation strain, g, of about 3.7 is required (g = ln A0/A) for the 7 wt.% Ag alloy, whereas for Cu-24 wt.% Ag alloys g 1#4 3.1 is sufficient. In as-cast alloys with 7 wt.% Ag a strong segregation is observed, which consequently leads to a strong decrease of the age hardening effect. Therefore, the Cu-7 wt.% Ag alloy has to be homogenised before aging. The application of Cu - Ag alloys with a Ag-content below 8 wt.%, i. e. the maximum solubility at the eutectic temperature, bears mainly two advantages: (i) less addiction to shear band formation, and (ii) a higher electrical conductivity in comparison to equivalently treated Ag-rich alloys due to the small Ag content.

A. Gaganov et al. Materials Science and Engineering A 437 (2006) 313–322
Adding up to 0.05 wt.%Zr to Cu–7 wt.%Ag alloys suppresses the discontinuous precipitation mode in these alloys. As a consequence, the continuous precipitation mode, which is also commonly observed in these alloys, is enhanced. The addition of Zr in the mentioned range guarantees a minimum of secondary phases that contain Zr. The subjection of Cu–7 wt.%Ag–0.05 wt.%Zr alloys to a certain deformation strain followed by an intermediate heat treatment gives rise to a logarithmic drawing strain of up to φ = 5.82 in these alloys. In this cold worked condition, an ultimate tensile strength of 1.4 GPa and a strain to failure of 1.6% are observed. Furthermore, an electrical conductivity of 60%IACS (IACS, International Annealed Copper Standard, i.e. the conductivity of copper) is measured. The influence of the Zr content, the thermal treatments, and the deformation process on the microstructure and thereby on the mechanical and electrical properties is discussed.

F. Bittner et al. Materials Science & Engineering A 597 (2014) 139–147
Dynamic recrystallisation of CuAgZr alloys within a composition range of (3–7) wt% Ag and (0.05–0.3) wt% Zr is studied as a function of alloy composition, temperature and strain. Dynamic recrystallisation was investigated using hot-compression and hot-rolling experiments at temperatures between 500 1C and 850 1C. For CuAgZr with 7 wt% Ag and 0.05 wt% Zr, an optimised hot-rolling temperature of 750 1C was found and a mean grain size of 25 μm was established at a true strain of 2.2. Similar grain size distributions were found for the extended range of alloy compositions while the active mechanism for changes from necklace towards a particle stimulated nucleation mechanism. This change is driven by the volume fraction of the ternary phase Cu4 AgZr as these particles are identified to stimulate nucleation of dynamic recrystallisation in the samples with increased Zr content. The final tapes exhibit an outstanding combination of ultimate tensile strength of 1 GPa and an electrical conductivity of 70%IACS at a true strain of 4.8 of cold work being applied.

J. Freudenberger et al. Materials Science and Engineering A 527 (2010) 2004–2013
Ultra strong CuAg-based conductor materials have been developed and tested in pulsed high-field magnets. The yield strength of a cold deformed CuAgZr conductor material has been assessed on the basis of different hardening mechanisms: solid solution, grain boundary, precipitation and dislocation hardening. The experimental value for the yield strength when transferred to the shear strength by Schmid’s law is between a linear and a quadratic superposition of the individual critical shear stresses and hence found to be in good agreement with the theoretical predictions. The conductor material shows an ultimate tensile strength of more than 1.1 GPa at room temperature (yield strength about 1 GPa, plastic strain: 0.7%). Based on the properties of the CuAgZr material a new coil has been designed and tested. The coil features additional internal reinforcement layers, which are optimised using computer simulations. In combination with refined computer simulation techniques, such as finite element modelling, significant progress was made concerning the use of these materials for pulsed magnet applications. The coil generated a field of 66 T without being destroyed, which constitutes a new high-field record of the Clarendon Laboratory in Oxford, UK. Performance and measurements are in good agreement with simulations.

J. Freudenberger in Copper Alloys: Preparation, Properties and Applications
Materials with apparently conflictive combination of materials properties, such as high conductivity and strength are facing growing interest. Their availability is claimed in a wide scope of application. On the one hand there are micro-electromechanical units in which the energy absorption, which is caused by mechanical loading, has to be raised beyond the present limits. Thus, the efficiency can be increased, while the power durability is warranted even at high energy. On the other (macroscopic) side highly strengthened conductors with a good formability are required as e.g. for the windings in non-destructive high field magnets which are operated in a pulsed mode. The mechanical and physical properties of the conductors is strongly related to their microstructure. Thus, the control of the microstructure is a crucial item when adjusting an optimised combination of materials properties. Due to its high thermal and electrical conductivity Copper is the ideal candidate to form alloys and materials that serve as conductor. Alloying bears the potential to apply several hardening mechanisms to enhance the strength. A special interest is paid to the increase of the strength due to the formation of precipitates. In contrast to dispersion strengthened materials they face a higher strengthening potential. However, they are less thermal stable and their potential can be used at low temperatures, only. Nevertheless, if the temperature of the conductor can be kept at or below room temperature these conductors are highly recommended to be used. The possibility to adjust the microstructure by thermal and mechanical treatments builds the basis to develop highly strengthened conductor materials, which materials properties have to be fitted to the case of applications within a broad range of application. This article reviews the properties of age hardenable, highly strengthened Copper based conductor materials that are developed for applications at room temperature and below.
